
Ó¦ÓÃÐÎò
ÊÜÒæÓÚ´æÁ¿»ùÕ¾¸üл»´ú¡¢5G»ùÕ¾´ó¹æÄ£ÉÌÒµ»¯£¬£¬£¬£¬£¬£¬ÒÔ¼°´¢ÄÜϵͳÔÚ·¢µç²à¡¢µçÍø²à¡¢Óû§²àµÄ¿ìËÙÉÌÒµ»¯£¬£¬£¬£¬£¬£¬µçÁ¦´¢ÄÜϵͳÊг¡ÐèÇó´óÔö¡£¡£¡£¡£¡£¡£¡£µçÁ¦´¢ÄÜϵͳͨ¹ýÒ»¶¨½éÖÊ´æ´¢µçÄÜ,ÔÚÐèҪʱ½«Ëù´æÄÜÁ¿ÊÍ·Å·¢µç£¬£¬£¬£¬£¬£¬×÷Ϊ¸ººÉƽºâ×°Öúͱ¸ÓõçÔ´Ìá¸ßµçÁ¦ÏµÍ³µÄÎȹÌÐÔ¡£¡£¡£¡£¡£¡£¡£ï®µç³Ø×÷ΪһÖÖÐÔÄÜÓÅÒìµÄ´æ´¢½éÖÊ£¬£¬£¬£¬£¬£¬ÔÚµçÁ¦´¢ÄÜÊг¡ÔËÓÃÔ½À´Ô½ÆÕ±é¡£¡£¡£¡£¡£¡£¡£×÷ΪµçÁ¦´¢ÄÜϵͳµÄÖ÷Òª×é³É²¿·Ö£¬£¬£¬£¬£¬£¬ï®µç³ØÔÚ¸ßÊÂÇéζÈÏ£¬£¬£¬£¬£¬£¬µç³ØÓÐ×ÔȼΣº¦ÇÒÊÙÃü»á½µµÍ£»£»£»£»£»ÔÚ»§ÍâÓ¦ÓÃÇéÐα°ÁÓ£¬£¬£¬£¬£¬£¬µç³Ø¸ºÔØÒì³£¶Ì·Σº¦Ôö¸ß£¬£¬£¬£¬£¬£¬Òò´Ëµç³Ø°üµÄÇå¾²ÐÔ£¬£¬£¬£¬£¬£¬¿É¿¿ÐÔµÈÔ½À´Ô½Êܵ½¹Ø×¢ºÍÖØÊÓ¡£¡£¡£¡£¡£¡£¡£
Õë¶ÔµçÁ¦´¢ÄÜÏµÍ³ï®µç³Ø°ü£¬£¬£¬£¬£¬£¬CRMICRO Ìṩ¸»ºñµÄÖеÍѹMOS²úÆ·£¬£¬£¬£¬£¬£¬¼«µÍµÄRDS(on£©²ÎÊý½µµÍµç³Øµ¼Í¨ÏûºÄ£¬£¬£¬£¬£¬£¬ÇÒÌá¸ßÕûÌåЧÂÊ£¬£¬£¬£¬£¬£¬´Ó¶ø½µµÍµç³ØÊÂÇéζȣ¬£¬£¬£¬£¬£¬Ìá¸ßµç³ØÊÙÃüºÍÇå¾²ÐÔ¡£¡£¡£¡£¡£¡£¡£ÓÅÒìµÄEASºÍSOA²ÎÊý£¬£¬£¬£¬£¬£¬¸üºÃµÄ˳Ӧµç³Ø¸ºÔضÌ·Òì³£ÇéÐΣ¬£¬£¬£¬£¬£¬Ìá¸ßµç³Ø°üµÄ¿É¿¿ÐÔ¡£¡£¡£¡£¡£¡£¡£
²úÆ·ÌØÉ«
![]() |
¼«µÍµÄRDS(on£©²ÎÊý | ![]() |
ÓÅÒìµÄEASºÍSOA²ÎÊý |
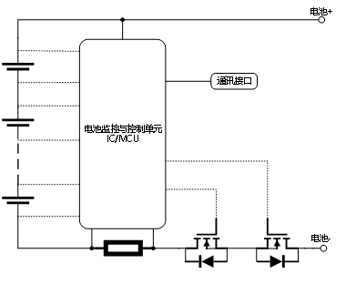
Ó¦ÓÃÔÀíͼ
;
µä·¶Ó¦ÓÃÍØÆËͼ
;
Ó¦ÓÃÑ¡ÐÍÍÆ¼ö
;